Internal combustion engines were invented as a relatively simple concept, but gradually grew in complexity. Adding strokes to the basic cycle is a fundamentally complex development though. Some systems, such as liquid cooling, which is also becoming necessary for electric cars, were added to remove an obstacle to higher performance. For a high speed train, one such obstacle is “tunnel boom”. Who knew? Speaking of boomers, retiring cold turkey is sub-optimal and a more elaborate plan is necessary to minimize pitfalls, apparently. Happy Reading.
Maglev’s ‘Tunnel Boom’ Might Be Solved – But Other Issues Mean It’s Unlikely to Come to UK
Picture a huge gun silencer at the end of the tunnel. Or, imagine vacuuming air pressure off the nose of a train. “Every project that has ever been conceived has been over-budget and expensive, and technically has not worked out well.” So, there isn't consensus on a solution then...
IMechE News, August 2025
How Electric Vehicles Like Tesla's, Ford's & GM's Keep Batteries Cool
No matter how hot you get when you watch the news, the batteries in your remote control don't care. EV batteries have heavier usage cycles though. There are multiple ways to cool and the best way depends on the specific application. That's why engineers like us run thermal simulations. Stay frosty.
Jalopnik, July 2025
Cold Feet Retirement: Destination Is Key
Engineering is a passion job. Accordingly, stopping abruptly can be problematic for self-esteem. The solution: project management. I don't mean moving into project management; I mean planning the transition, such as finding part-time, mentoring or emeritus roles, sometimes with a consulting company.
ASME, August 2025
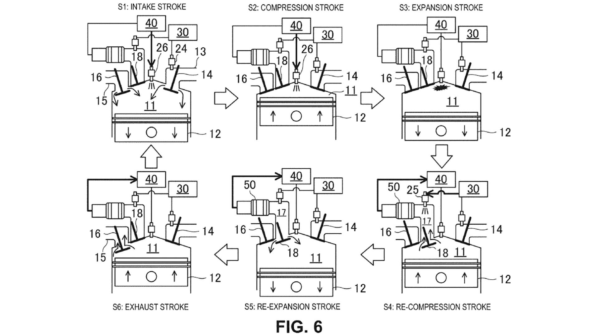
Mazda Patents Bizarre Six-Stroke Gas Engine That Separates Hydrogen From Carbon
The two stroke engine concept is a marvel of simplicity, but shows a lack of thermodynamic efficiency. Accordingly, the four stroke engine has come to dominate, despite additional complexity. If four is good, six must be better! Add buzz words like hydrogen and carbon and you are on to a winner, right?
Car Buzz, August 2025




